Пресс для изготовления топливных брикетов своими руками
Покупка готового оборудования для изготовления брикетов в зависимости от его мощности обойдется в сумму от 300 тыс. до 1 млн. руб.
Разумеется, для частника, желающего заняться изготовлением данного топлива чисто для собственных нужд, такие затраты нецелесообразны, поскольку окупятся они не скоро. Более правильным будет изготовить пресс из подручных материалов, тем более что ничего сложного в его конструкции нет.
Можно соорудить необходимое оборудование с нуля либо воспользоваться готовыми механизмами.
Самодельный станок
Схема
Рычажный и винтовой самодельный прессы не требуют применения покупных изделий, но и значительным усилием сжатия они похвастаться не могут. Предлагается собрать пресс на основе гидравлического домкрата или такого же пресса.
Он может быть оснащен электродвигателем либо ручным приводом:
- К гидравлической установке присоединим пуансон. Его размеры должны соответствовать размерам матрицы, в которой сырье будет спрессовываться в брикет.
- Саму матрицу изготовим из толстостенной трубы — это самый простой вариант. Для выхода воздуха и влаги в ее стенках будут проделаны отверстия.
- Матрицу оснастим съемным дном. Удалив его, готовый брикет можно будет вытолкнуть пуансоном в приемный лоток.
Чертеж-схема изготовления брикетов из размоченной бумажной массы
Рабочий механизм поместим в корпус, снабженный для удобства транспортирования двумя ручками.
Необходимые материалы
Кроме гидравлической установки понадобятся кое-какие разновидности стального проката:
- Швеллер.
- Уголок равнополочный 100х100 мм.
- Лист толщиной 3 – 6 мм. Из него будет вырезаться пуансон. Толщина заготовки зависит от диаметра матрицы: чем большим он будет, тем толще должен быть пуансон.
Из этого же листа вырежем съемное дно для матрицы.

- Труба диаметром 25 – 30 мм — из нее будет изготовлен шток пуансона.
- Толстостенная труба — заготовка для матрицы. Диаметр зависит от того, какого размера брикеты хочет получить пользователь. Чем тоньше они будут, тем выше их плотность, но производительность станка при этом уменьшится.
- Труба большого диаметра — заготовка для корпуса миксера. Если подходящей трубы нет барабан можно сделать из листа жести.
- Оцинкованная сталь для изготовления лотков.
Всего потребуется два лотка — для загрузки подготовленного материала в матрицу и для приема готовых брикетов.
Инструкция по изготовлению и сборке
Порядок операций при изготовлении пресса выглядит так:
- Из швеллеров необходимо сварить основание устройства.
- Из уголка делаем 4 стойки длиной по 1,5 метра. Они привариваются вертикально и с одинаковым шагом.
- Далее из трубы или листа жести необходимо изготовить барабан, в котором будет перемешиваться сырье. Если у вас есть поломанная стиральная машина, барабан, а также подшипники, можно извлечь из нее.
- Барабан нужно прикрепить к стойкам. Если есть возможность, его следует оборудовать электродвигателем. Если мотор является слишком высокооборотистым и понизить скорость вращения барабана до приемлемого значения за счет одной только разницы в диаметрах шкивов не удается, следует применить редуктор.
- Под барабаном необходимо закрепить лоток, по которому подготовленный материал будет подаваться в матрицу.
- В стенках трубы, используемой в качестве заготовки для матрицы, необходимо выполнить несколько отверстий диаметром 3 – 5 мм. Их надо распределить равномерно, чтобы воздух и вода выдавливались по всему объему брикета.
- Снизу к матрице необходимо приварить фланец, к которому будет прикручиваться съемное дно. Это дно вырезается из стального листа в виде диска с проушинами.
- Матрица приваривается или прикручивается к основанию под загрузочным лотком.
- Из стального листа вырезаем круглый пуансон. Это просто диск, диаметр которого позволяет ему свободно входить в матрицу.
Шток изготавливается из трубы: достаточно диаметра 30 мм. Одной стороной он приваривается к пуансону, а другой — крепится к гидравлической установке.
Далее весь узел следует прикрепить к стойкам точно над матрицей.
Чтобы сократить время, затрачиваемое на извлечение готового брикета из матрицы, и сделать тем самым станок более производительным, к днищу матрицы можно приварить пружину с диском такого же диаметра, что и пуансон.
После отключения гидравлической установки и извлечения пуансона изделие будет выталкиваться пружиной автоматически.
Преимущества покупки гидравлического пресса
Выбор в пользу заводского оборудования принесет следующие преимущества:
- длительную безаварийную эксплуатацию установки сроком до 7 лет и более;
- возможность использования пресса в любых нужных условиях;
- большие объемы и высокую скорость переработки ТБО: от 80 до 2100 кг за час.

Заводские установки отличаются надежной, эффективной работой и полностью решают задачу утилизации отходов на предприятиях. Использование оборудования обеспечивает сокращение объема мусорных контейнеров до 75%, сокращение необходимого для вывоза транспорта в 3─5 раз, общую экономию на утилизационной статье расходов до 30%. ← Вернуться к списку статей
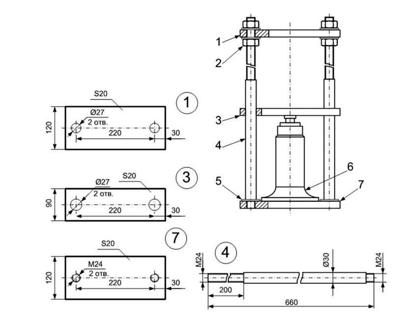
Схема пресса
Чертеж пресса для сайлентблоков, сделанного своими руками
Прежде чем приобретать сам гидравлический домкрат, чтобы сделать пресс для запрессовки различных сайлентблоков или подшипников, выберите подходящую схему устройства.
Есть два отличных варианта для гидравлического пресса:
- Гидродомкрат монтируют на основание рабочей станины пресса и давит вверх;
- Домкрат устанавливается сверху станины. Устройство создает давление, но в этом случае вниз.
Большинство домашних мастеров отдают предпочтение первому варианту пресса. Второй тип схемы актуален для некоторых слесарных работ.
Помните, что иногда конструкция некоторых гидравлических домкратов не позволяет устанавливать вверх ногами. Потому перед выбором убедитесь в этом.
Особенности конструкции пресса
Гидравлический пресс имеет несколько важных особенностей конструкции, которые учитываются в процессе создания чертежа и непосредственно во время сборки устройства.
- Станина пресса. Представляет собой раму, внутри которой гидравлический домкрат будет осуществлять давление на детали. Потому к станине предъявляются повышенные требования по прочности. Рама должна иметь запас надежности, чтобы шток домкрата мог эффективно давить на деталь, но при этом не деформировать станину. Станина дополнительно служит для создания устойчивости вашей конструкции. Лучше, чтобы станина имела форму платформы.
- Высота гидравлического станка напрямую зависит от размера используемого гидродомкрата, необходимого параметра свободного хода штока и высоты сайлентблоков. Не забудьте учесть толщину стола. Согласно первой схеме, озвученной выше, усилие штока домкрата передается на деталь через рабочий стол с подвижной конструкцией. Он устанавливает поверх гидродомкрата на станину. По ней осуществляет движения вверх-вниз. Поддерживается рабочая поверхность направляющими, установленными по бокам.
- С двух сторон гидродомкрата пресса располагаются оттягивающие пружины достаточной мощности. Одна проушина цепляется за основание рамы, а другая за подвижный рабочий стол. Функция пружин — сжимать домкрат в его начальное положение при не выдвинутом штоке.
- Если рассматривать вторую схему пресса, то здесь упор обрабатываемых сайлентблоков — это основание рамы. Домкрат фиксируется на рабочем подвижном столе станка, который подвешивается на раме с помощью оттягивающих пружин.
- На двух предлагаемых схемах пресса под головку штока выполняется гнездо. Его требуется изготовить на узлах сопряжения. В случае с первой схемой — снизу стола, а во второй схеме — сверху рамы. Для этих целей можно использовать отрезок от металлической трубы. Главное, чтобы элемент имел нужный диаметр.
Важный момент при разработке своими руками гидравлического пресса — это возможность регулировки свободного хода у штока устройства. Также нужно регулировать по мере необходимости высоту деталей при их обработке. Для этого можно задействовать такие варианты:
- Вверху станины самодельного пресса можно разместить привод винтового типа, дополненный штурвалом. При вкручивании винта с плитой уменьшается просвет для обрабатываемых заготовок внутри рамы;
- Использовать съемный упор для гидравлического пресса, имеющий вид подвижной рабочей поверхности. Ее фиксируют на станине болтами и гайками. Чтобы сделать это, нужно высверлить отверстие с определенным шагом по высоте;
- Задействовать сменные вставки-подкладки, выполненные из прочного металлопрофиля;
- Скомбинировать указанные выше варианты.
Гидравлический пресс: принцип действия и назначение
приводится в работу жидкостью
Устройство имеет два цилиндра или камеры. В одном, меньшем, жидкость доводят до состояния с высоким давлением, и передают по специальному каналу или трубопроводу в большую, рабочую камеру, в которой поступающая жидкость образует усилие на поршне, и передает на обрабатываемое изделие с помощью исполнительного инструмента. Важным условием эксплуатации пресса является установка упора, который не допускает перемещение заготовки или детали под действием рабочего поршня. В роли жидкости используются различные масла.
Как правило, в современных производственных гидравлических прессах расположение рабочей камеры обычно вертикальное, но может быть и горизонтальное. С учетом своего предназначения и вида обрабатываемых материалов это устройство развивает усилия от десятков до тысяч тонн давления. Пресс зачастую используется в металлообработке для ковки, штамповки, гибки и правки, выдавливания труб и профилей, а также при пакетировании, брикетировании, прессовании разных материалов, изготовлении древесно-стружечных, пластиковых, резиновых изделий и во многих иных сферах деятельности.
Как сделать пресс из домкрата своими руками?
В основу данного оборудования входит надежная рама. Она изготавливается из швеллера или металлических углов.
Как сделать самодельный пресс из домкрата своими руками, чертеж
| Шаг | Описание |
Рама используется со сдавливющим усилием до 5 тонн | 1 (упорна балка сверху); 2 (крепежные элементы); 3 (домкрат до 20 т); 4 (пружинный механизм); 5 (подвижная конструкция); 6 (стопор); 7 (приспособление для регулировки); 8 (поперечная конструкция); 9 (опорные ножки). |
| Все надежно закреплено | Возможны два варианта: при помощи, что надежнее. Есть монтаж на болтах |
Гидравлический пресс своими руками из домкрата чертеж с болтовым соединением | Здесь необходимо точно рассчитать усилие пресса |
Монтаж балки понадобится для большей жесткости | Опорный элемент можете придумать сами, в зависимости от воображения. Наличие перекладины снизу обязательно, для жесткости. |
Совет! При производстве гидравлического пресса из домкрата в первую очередь нужно обеспечить прочность рамы, именно на нее будет оказываться нагрузка.
Какой домкрат подойдет для нашей конструкции
На сегодняшний день чаще всего используется для производства гидравлического пресса стаканный домкрат. Есть недорогие устройства, которые в состоянии выжимать более двадцати тонн.
Стаканный гидравлический домкрат
Примечание! Но есть проблема в использовании подобного оборудования, они не способны функционировать в перевернутом состоянии.
Вроде логично, закрепить домкрат на верхней балке, а нижнюю использовать, как опору, но в этом случае домкрат придется дорабатывать.
Переделка конструкции:
- Вариант 1: устанавливаем бак и связываем его с отверстием для заливки домкрата при помощи силиконовой трубки.
- Вариант 2: потребует новой разработки самого домкрата.
Работа системы прижима
Чтобы сделать пресс из гидравлического домкрата своими руками, предусматривается формирование штока. Многие мастера утверждают, что он не удобен в работе. Нужна большая площадь для разработки различных, крупных пресс-форм и деталей больших габаритов.
В роли колодок можно использовать чушки, в которых делаются глухие отверстия для укрепления с основной конструкцией пресса. Если нет финансовых возможностей, то узлы можно изготовить самостоятельно. В балке нужно сделать отверстие, куда должна войти пятка домкрата, практически без зазора. Затем делаем несколько отверстий для возвратного механизма.
Балки изготавливаем с открытыми гранями
Затем в верхней части узла привариваем отрезок трубы для посадки домкрата. Нижнюю часть привариваем при помощи уголков.
Роль переставной опорной балки
Для крепления переносной балки, подойдут стальные массивные пальцы. На вертикальной части рамы делаем ряд круглых просечек на разной высоте. Диаметр просечек должен совпадать с сечением всех болтов.
Установка возвратного механизма
Последняя деталь в конструкции гидравлического пресса, это возвратный или пружинный механизм. Здесь можно вставить обычные пружины для дверей. Задача может значительно усложниться при использовании верхней бабки, так как собственный вес может не позволить сжиматься пружинному механизму.
Увеличиваем число пружин
Совет! Один из вариантов, это увеличение числа пружин до 6-ти или использование более мощных деталей.
Если отсутствует верхняя колодка, то рекомендуется закрепить пружину к штоку при помощи шайбы. Если образовались излишки длины пружины, можно расположить их в наклонном состоянии.
Варианты применения самодельного пресса
Самодельный гидропресс для гаража
В гараже такой пресс станет отличным помощником при самостоятельном ремонте машины и выполнении прочих задач. К примеру, соорудив самодельный пресс, вы сможете самостоятельно выпрессовать подшипник, а затем запрессовать вместо него новое изделие. То есть вам не придется обращаться в автосервис и тратить деньги.
Готовое прессовальное оборудование заводского производства стоит достаточно больших денег. При самостоятельной же сборке вам придется потратить деньги исключительно на необходимые комплектующие. Дополнительным преимуществом самостоятельной сборки пресса является то, что вы будете лично контролировать процесс на каждом этапе и сможете получить такой агрегат, который будет наилучшим образом подогнан под ваши потребности.
Как сделать пресс из домкрата своими руками?
В основу данного оборудования входит надежная рама. Она изготавливается из швеллера или металлических углов.

Как сделать самодельный пресс из домкрата своими руками, чертеж
| Шаг | Описание |
Рама используется со сдавливющим усилием до 5 тонн | 1 (упорна балка сверху); 2 (крепежные элементы); 3 (домкрат до 20 т); 4 (пружинный механизм); 5 (подвижная конструкция); 6 (стопор); 7 (приспособление для регулировки); 8 (поперечная конструкция); 9 (опорные ножки). |
| Все надежно закреплено | Возможны два варианта: при помощи, что надежнее. Есть монтаж на болтах |
| Здесь необходимо точно рассчитать усилие пресса |
Монтаж балки понадобится для большей жесткости | Опорный элемент можете придумать сами, в зависимости от воображения. Наличие перекладины снизу обязательно, для жесткости. |
Совет! При производстве гидравлического пресса из домкрата в первую очередь нужно обеспечить прочность рамы, именно на нее будет оказываться нагрузка.
Какой домкрат подойдет для нашей конструкции
На сегодняшний день чаще всего используется для производства гидравлического пресса стаканный домкрат. Есть недорогие устройства, которые в состоянии выжимать более двадцати тонн.

Стаканный гидравлический домкрат
Примечание! Но есть проблема в использовании подобного оборудования, они не способны функционировать в перевернутом состоянии.
Вроде логично, закрепить домкрат на верхней балке, а нижнюю использовать, как опору, но в этом случае домкрат придется дорабатывать.
Переделка конструкции:
- Вариант 1: устанавливаем бак и связываем его с отверстием для заливки домкрата при помощи силиконовой трубки.
- Вариант 2: потребует новой разработки самого домкрата.
Работа системы прижима
Чтобы сделать пресс из гидравлического домкрата своими руками, предусматривается формирование штока. Многие мастера утверждают, что он не удобен в работе. Нужна большая площадь для разработки различных, крупных пресс-форм и деталей больших габаритов.
В роли колодок можно использовать чушки, в которых делаются глухие отверстия для укрепления с основной конструкцией пресса. Если нет финансовых возможностей, то узлы можно изготовить самостоятельно. В балке нужно сделать отверстие, куда должна войти пятка домкрата, практически без зазора. Затем делаем несколько отверстий для возвратного механизма.

Балки изготавливаем с открытыми гранями
Затем в верхней части узла привариваем отрезок трубы для посадки домкрата. Нижнюю часть привариваем при помощи уголков.
Роль переставной опорной балки
Для крепления переносной балки, подойдут стальные массивные пальцы. На вертикальной части рамы делаем ряд круглых просечек на разной высоте. Диаметр просечек должен совпадать с сечением всех болтов.

Крепление опорной балки
Установка возвратного механизма
Последняя деталь в конструкции гидравлического пресса, это возвратный или пружинный механизм. Здесь можно вставить обычные пружины для дверей. Задача может значительно усложниться при использовании верхней бабки, так как собственный вес может не позволить сжиматься пружинному механизму.

Увеличиваем число пружин
Совет! Один из вариантов, это увеличение числа пружин до 6-ти или использование более мощных деталей.
Если отсутствует верхняя колодка, то рекомендуется закрепить пружину к штоку при помощи шайбы. Если образовались излишки длины пружины, можно расположить их в наклонном состоянии.
Из чего собирать пресс?
Каких-либо специальных инструментов для сборки пресса не понадобиться. Единственные сложности для новичка могут возникнуть с использованием сварочного аппарата. Начинающим мастерам рекомендуется тренироваться на агрегатах инверторного типа – они наиболее просты в освоении. При желании сварочные работы можно поручить квалифицированному мастеру.
Инструменты для сборки самодельного пресса
- Аппарат для сварки и электроды.
- Болгарка с диском по металлу. При отсутствии болгарки можно использовать слесарную ножовку, но с ней производить резку дольше и труднее.
- Электродрель.
- Шуруповерт.
- Уровень.
- Измерительная рулетка.
Главным силовым агрегатом рассматриваемой установки является гидравлический домкрат. Ранее упоминалась необходимость использования оттягивающих пружин. Можете взять дверные пружины, пружины от передних кресел машины и любые другие, подходящие под заданные требования.
Домкрат гидравлический
Если вы будете фиксировать домкрат в нижнем положении, для устройства оттягивающего приспособления можете использовать специальный грибок моста – он попросту надевается на шток, после чего выполняется крепление пружин к основанию рамы и непосредственно к грибку. Грибок моста должен быть со сдвинутыми шлицами.
Размеры и необходимый объем металлопроката подбирайте в соответствии со своим чертежом гидравлического пресса.
Металлопрокат для сборки самодельного пресса
- Швеллер. Покупайте изделие не ниже №8.
Швеллер
- Труба не менее 4х4 см. Подходят изделия и круглого, и прямоугольного сечения.
Труба
- Уголок. Будет применяться при сборке основания рамы, передвижного стола, сменного упора. Подходят уголки не менее 5х5 см.
- Листовая сталь толщиной не менее 8 мм. Может и не понадобиться. Нужна для выравнивания поверхности при наличии разного рода неровностей.
- Полоса стали толщиной 1 см. Из нее вы сделаете ребра жесткости для укрепления станины, а также направляющие.
- Отрезок трубы. По длине будет достаточно порядка 10 мм. Диаметр подбирайте индивидуально в соответствии с размерами головки штока выбранного домкрата.
Компост
Самое простое и чисто огородное дело. Компостные удобрения всегда нужны и особенно ценны за свое природное происхождение. Поскольку свежие опилки в качестве удобрения не подходят — они забирают из почвы азот — то из них нужно сделать компост, вернее добавить их туда, где он уже создан. Опилки помогают созревать основным компонентам компоста и к тому же весной он быстрее разогреется. Процесс можно запускать с начала лета. Обычно опилки закладываются в компост слоями, которые проливаются водой с удобрениями — мочевиной, суперфосфатом и хлоридом калия. Также рекомендуется каждый слой посыпать известью. Под конец лета компост можно применять.

Каково устройство гидравлического пресса и как его сделать
Пресс на гидравлическом приводе в сельской местности вообще незаменим. А изобрели его еще в далеком 1975 году. Принцип его работы состоит в задействовании сообщающихся цилиндров с поршнями разного диаметра. При чем, чем меньше давящий, т.е. гидронасос и больше принимающий – гидроцилиндр, тем сильнее будет создаваться давление при меньшем усилии. По сути это можно сравнить движение автомашины на пониженной передаче.
Принцип работы гидравлики – так намного понятнее
Наиболее распространенной формой гидропресса, как уже упоминалось, стала прямоугольная рама. И основная задача при ее изготовлении – точные расчеты. Первым делом необходимо, конечно же, составить схему будущего пресса, т.к. без нее сложно будет разобраться со всеми соединениями. От того, насколько подробной она будет, зависит и качество, и скорость сборки агрегата.
Все элементы конструкции изготавливаются должны быть стальными, толщиной не меньше 15 мм. Делается это для того, чтобы каркас не повело при работе, ведь усилие будет прилагаться значительное. Основное, что необходимо продумать – это саму конструкцию. При этом необходимо помнить о том, что гидравлические домкраты предназначены именно для работы в вертикальном положении и набок их класть нельзя, как и устанавливать штоком вниз.
Работы по механике с гидропрессом становятся значительно проще
В идеале должна получиться следующая конструкция. Прямоугольная, вытянутая вверх рама закреплена на станине. Внутри рамы вертикально по краям, расположены 2 направляющие, по которым ходит вверх-вниз горизонтальная перекладина. На ней, сверху, закреплен гидравлический домкрат, а сама поперечная балка подвешена к верхней части рамы пружинами, которые обеспечивают обратный отжим поперечной балки при ослаблении домкрата.
Идеальный образец самодельного гидравлического пресса
Таким образом произведенный гидравлический пресс будет давить вниз при «накачивании» домкрата и подниматься вверх при его ослаблении при помощи пружин. К низу балки можно приварить крупную гайку, куда будут в последующем накручиваться различные наконечники, необходимые для той или иной работы.
Если под рукой имеются отдельно гидроцилиндр и гидронасос, тогда можно сделать более удобный агрегат. Ведь в таком случае появляется возможность установки педали, и при производстве работ обе руки остаются свободными, что иногда бывает крайне необходимо.
Вообще, как сделать гидравлический пресс – дело каждого. И ограничивается ответ на этот вопрос только лишь фантазией и пожеланиями мастера. Немного смекалки и вот уже готово эксклюзивное устройство, отвечающее всем требованиям удобства.
Чертежная схема гидравлического пресса – все четко и ясно
Важность составления чертежей изготавливаемого своими руками гидравлического пресса
Основная задача при подобной работе – это точность и внимательность. И если размеры, к примеру, вертикальных стоек не совпадут, агрегат может давить немного в сторону, что в некоторых случаях может быть критично
А по тому составление своими руками чертежей ручного гидравлического пресса очень важно. Причем все размеры на них должны быть прописаны и просчитаны до миллиметра. А при изготовлении отступление от чертежа недопустимо
А при изготовлении отступление от чертежа недопустимо.
Пресс гидравлический чертеж которого составлен грамотно и функционировать будет идеально. Для обычной установки в гараже идеальным размером будет несущая рама 50 см шириной и до 1 м высотой.





































